产品咨询
产品咨询

力芯微自动双向电平转换芯片ETS0108

logp

力芯微电子

在线客服
微信咨询
产品海报

产品详情

产品概述

在通信技术跨越式发展的今天,5G的高速连接、AI的实时决策与物联网的泛在组网,正推动电子设备向更高速、更智能、更融合的方向演进。信号传输系统作为数字世界的“神经网络”,不仅需要处理多电压、多协议的复杂兼容挑战,更面临着低延时、高能效与极致集成化的严苛要求。

力芯微推出一款8通道自动双向适用于推挽和开漏应用的电平转换芯片 ETS0108,纳秒级传输延时,自动双向传输无需额外控制,内置10kΩ上拉电阻减少外围器件,可在1.8V到5V之间转换电平,兼容I²C、UART、SPI等多种通信协议,显著降低系统集成复杂度,推挽应用下支持24Mbps信号传输,其在消费电子、工业控制与自动化等领域广泛适用。

产品特

  • 无需控制自动转换传输方向

  • 输入输出端口内置10kΩ上拉电阻

  • 最大传输速率:

    24Mbps (Push Pull)

    2Mbps (Open Drain)

  • VCCA工作电压1.65V到3.6V  (VVCCA ≤ VVCCB)

  • VCCB工作电压2.3V到5.5V

  • B端口ESD能力 HBM达到8kV

  • 封装尺寸TSSOP20 (4.4mm × 6.5mm)

典型应用

图片

图1:典型应用电路

管脚定义

图片

图2:管脚定义

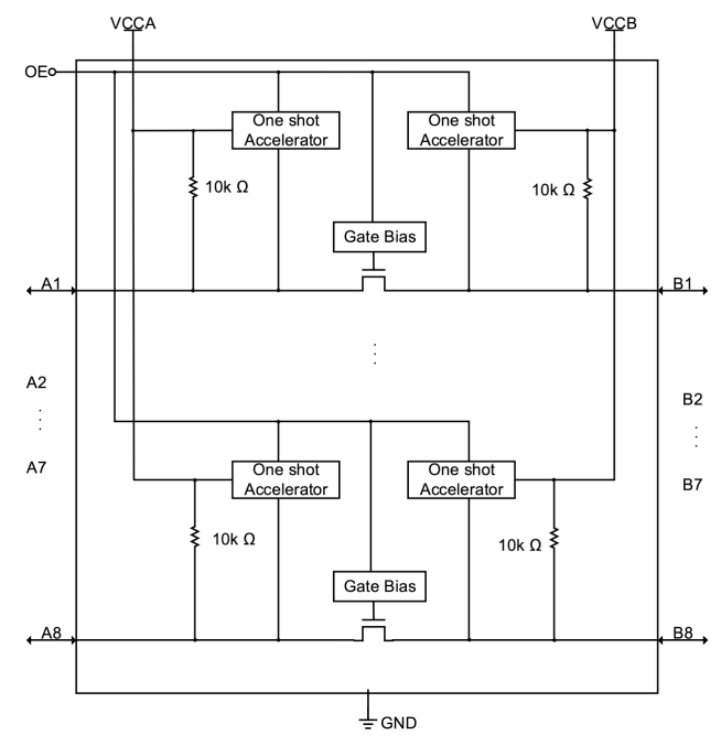
功能框图

图片

图3:功能框图

其他亮点

one-shot功能:输出单稳态触发器(one-shot)检测A或B输入端口的上升沿,在上升沿期间,单稳态触发器(one-shot)会短暂接通输出上拉MOS管,可加快输出信号从低电平到高电平的转换速度。