圣邦微电子推出 SGM25733Q,一款耐反向电压输入的低静态电流车规级理想二极管控制器。该器件可应用于汽车信息娱乐系统(数字仪表盘和主机)、冗余电源系统的有源“或”电路、汽车 ADAS 系统(摄像头集成)、企业电源和工业工厂自动化中的 PLC 集成。

圣邦微电子
产品详情
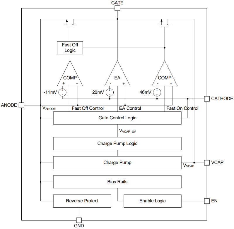
SGM25733Q 是一款专为汽车应用设计的理想二极管控制器,可作为理想二极管整流器使用。它搭配外部 NMOS 管,能够提供低损耗的反极性保护,其正向压降仅为 20mV。该器件拥有 3.2V 至 65V 的宽电源输入范围,能够轻松应对汽车电池系统中常见的各种直流总线电压,如 12V、24V 和 48V。它支持低至 3.2V 的输入电压,非常适合对冷启动条件要求严苛的汽车系统。此外,它还能保护连接的负载免受低至 -65V 的反向电源电压的影响。
通过控制 MOSFET 的栅极,该器件可调节 20mV 的正向压降。这种控制架构可确保外部 MOSFET 在出现反向电流时关闭,从而有效防止任何稳态反向电流。该器件具有小于 0.88μs 的快速反向电流阻断响应时间,非常适合在 ISO7637 脉冲测试以及输入微短路和电源故障情况下需要保持输出电压的应用。
该控制器集成了一个用于外部 NMOS 的电荷泵栅极驱动器。其高额定电压简化了符合汽车 EMC 瞬态干扰标准 ISO7637 的系统设计。当使能引脚保持低电平时,控制器处于禁用状态,仅消耗约 1.2μA 的电源电流;在使能引脚为高电平时,工作静态电流为 98μA,且峰值栅极关断电流可达 1.8A。
SGM25733Q 符合 AEC-Q100 汽车应用标准,温度等级为 1,工作温度范围为 -40℃ 至 +125℃。它提供相关文档,协助进行功能安全系统设计。该器件还符合汽车 ISO7637 瞬态要求,并配备了合适的 TVS 二极管。SGM25733Q 采用绿色 SOT-23-6 封装,非常适合汽车应用。
图 1 SGM25733Q 典型应用电路
图 2 SGM25733Q 功能框图