SGM56101Q 是一款专为数字音频系统设计的高性能 8 通道、32 位数模转换器(DAC),广泛适用于网络音频播放器、USB 接口音频 DAC 以及汽车音频系统等 HIFI 音频应用。

圣邦微电子
规格参数
产品详情
SGM56101Q 是一款专为数字音频系统设计的高性能 8 通道、32 位数模转换器(DAC),广泛适用于网络音频播放器、USB 接口音频 DAC 以及汽车音频系统等 HIFI 音频应用。其内部集成了先进的 32 位数字滤波器,结合创新的 OSR 增强技术,能够有效优化音频质量和性能,同时最大限度地减少带外噪声并保持低功耗。此外,SGM56101Q 提供三种类型的 32 位数字滤波器,在各种应用场景中让声音信号处理更加简单灵活。SGM56101Q 支持最高 192kHz 的 PCM 输入,能够完美再现 HIFI 音频源的原声,满足 HIFI 音频系统对音质的严格要求。应用上,用户需要提前输入 MCLK 信号到 SGM56101Q,用 3 线串行总线或 I²C 总线对 SGM56101Q 进行参数配置。
SGM56101Q 通过了 AEC-Q100 认证,符合汽车应用的严苛要求,工作温度范围为 -40℃ 至 +125℃, 它的供电电源电压范围比较宽,模拟电源 AVDD 从 3.0V 至 3.6V,数字电源 TVDD 为 2.3V 至 3.6V。SGM56101Q 集成了内部 LDO,进一步优化了电源管理和噪声处理。在音频性能方面,该器件具备 256 倍过采样功能,确保音频信号的高精度还原。其总谐波失真加噪声(THD+N)低至 91.5dB,动态范围(DR)和信噪比(SNR)高达 110dB,能够提供卓越的音频体验。SGM56101Q 还提供了灵活的数字音量控制功能,每通道支持从 0dB 至 -127dB 的全范围调节,步进为 0.5dB,并具备静音功能。它还支持软静音功能以及多种去加重滤波器选项(32kHz、44.1kHz 和 48kHz),以满足不同音频格式的需求。音频接口格式支持 MSB/LSB 对齐、I²S 和 TDM,同时具备通道独立的零检测功能,进一步提升了音频处理的灵活性。
在采样频率方面,SGM56101Q 支持三种模式:正常速度模式(8kHz 至 48kHz)、双速模式(48kHz 至 96kHz)和四速模式(96kHz 至 192kHz)。其典型主时钟比率在不同模式下分别为:正常速度模式支持 256 × fS、384 × fS、512 × fS 和 768 × fS;双速模式支持 128 × fS、192 × fS 和 256 × fS;四速模式支持 128 × fS。控制接口支持 3 线串行接口、I²C 总线接口(快速模式:400kHz)和并行接口模式,为系统集成提供了多种选择。在 48kHz 采样率下,器件的工作电流仅为 31mA,展现了其出色的低功耗特性。
SGM56101Q 采用绿色 TQFN-5×5-32FL 封装,不仅符合环保要求,还具备良好的散热性能和小封装尺寸,适合在紧凑的空间内实现高性能音频处理。卓越的性能使其成为汽车音频系统、音频播放器和 USB 音频 DAC 等高保真音频应用的理想选择。
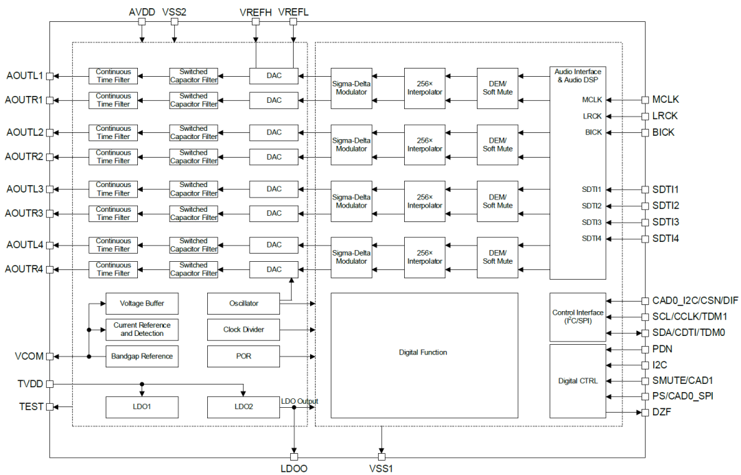
图 1 SGM56101Q 功能框图